Новый Уренгой — Аквакорд

8(800) 500-73-22

RU

EN

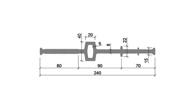
Гидрошпонка Аквастоп ДВС-240/20

Гидрошпонка ДВС-240/20 из ПВХ – это деформационная внутренняя специальная гидрошпонка.
Ширина шпонки — 240 мм.
Ширина деформационного шва — 20 мм.

Основные преимущества ПВХ:

  • Надежное крепление в бетоне;
  • Простота монтажа и эксплуатации;
  • Нетоксичность и экологическая безопасность;
  • Долговечность;
  • Устойчивость к химическим воздействиям;
  • Температурный диапазон – от -40 до +60 градусов.
Упаковка
Кол-во
Бухта
  м.п.

Цена: 

1822 

за 1 м.п.

Технические характеристики

Назначение и особенности, для шпонки ДВС-240/20 из ПВХ это:

  • Сжатие – 12 мм;
  • Растяжение – 16 мм;
  • Поперечный сдвиг – 25 мм;
  • Продольный сдвиг – 15 мм;
  • Давление воды – 0,54 МПа.


Гидрошпонки Аквастоп используются в гражданском и коммерческом строительстве.
Гарантийный срок хранения – 2 года.
Гарантийный срок эксплуатации – 5 лет при соблюдении технологии монтажа.

Изменить содержимое

Монтажная схема гидрошпонки Аквастоп ДВС

Устанавливается по контуру деформационного шва, когда разноуровневое расположение и разная толщина элементов конструкций плит фундамента, плит покрытий и периметральных стен. 

Изменить содержимое

Фасонные элементы гидрошпонки Аквастоп ДЗ

Описание

Описание

Фотографии гидрошпонки Аквастоп ДЗ

Выберите ваш город